My flywheel came loose today due to the key on the crank failing. The key had been spot welded on, not forged as it should have been, and the stresses of variable torque on it failed. My engine has done about 5000 miles.
Solution is to grind a second grove and insert a square kind of shaft like is done on the sprocket side. I modified an allen key (hardened). Should last unlike the crap original idea!
An essential mod for clone owners.
[Warning] Yanmar 404cc Clone Issue
Moderators: Dan J, Diesel Dave, Crazymanneil, Stuart
-
snoopy
- I luv the smell of Diesel...
- Posts: 107
- Joined: Wed Jul 07, 2010 8:25 pm
- Location: NCL
- Contact:
[Warning] Yanmar 404cc Clone Issue
RTW on a diesel Enfield. Starts mid 2012. http://www.andrewcharnley.com/
- forhire
- Been here a while now..
- Posts: 27
- Joined: Thu Sep 01, 2011 7:16 am
- Location: Morton, Washington
Re: [Warning] Yanmar 404cc Clone Issue
Your saying that on your clone rather than a key slot being milled into the crank it had a key spot welded to the crank?
Are you certain it didn't shear the key and you simply can't see where the slot originally was? Often the flywheel will smear the key leaving little evidence of the slot location. If you lightly pass a file over the taper it will bite into the soft key and skip over the hardened taper revealing the slots location. Dig out the key with a drift and install a new key.
Of course it sounds like you re-keyed it already.
Are you certain it didn't shear the key and you simply can't see where the slot originally was? Often the flywheel will smear the key leaving little evidence of the slot location. If you lightly pass a file over the taper it will bite into the soft key and skip over the hardened taper revealing the slots location. Dig out the key with a drift and install a new key.
Of course it sounds like you re-keyed it already.
- Attachments
-
- l100.JPG (36.34 KiB) Viewed 7938 times
-
snoopy
- I luv the smell of Diesel...
- Posts: 107
- Joined: Wed Jul 07, 2010 8:25 pm
- Location: NCL
- Contact:
Re: [Warning] Yanmar 404cc Clone Issue
"Your saying that on your clone rather than a key slot being milled into the crank it had a key spot welded to the crank? "
That is correct. I couldn't believe it either. It's obviously done to save time/money in the clone factory, Yanmar do it properly.
That is correct. I couldn't believe it either. It's obviously done to save time/money in the clone factory, Yanmar do it properly.
RTW on a diesel Enfield. Starts mid 2012. http://www.andrewcharnley.com/
-
snoopy
- I luv the smell of Diesel...
- Posts: 107
- Joined: Wed Jul 07, 2010 8:25 pm
- Location: NCL
- Contact:
Re: [Warning] Yanmar 404cc Clone Issue
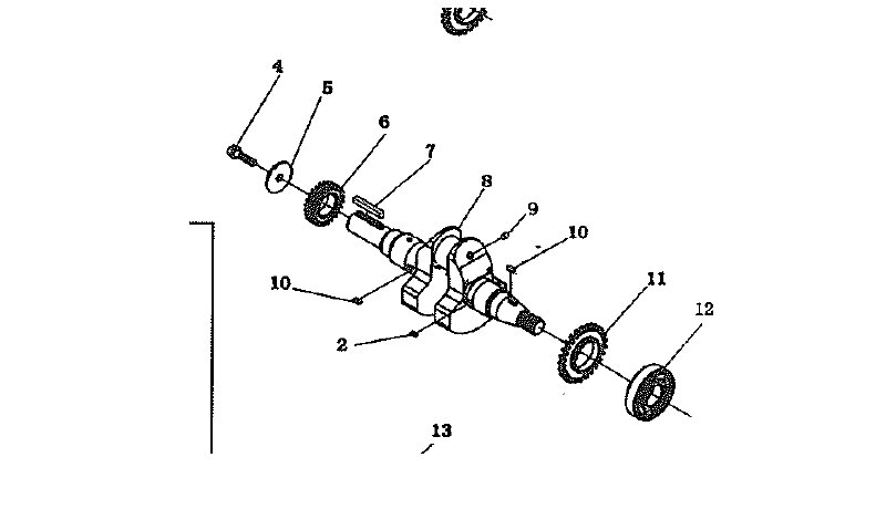
According to your picture,it is a tab on the right hand side taper (a slot is used on the left side). This little tab was spot welded in three places on mine.
RTW on a diesel Enfield. Starts mid 2012. http://www.andrewcharnley.com/
- forhire
- Been here a while now..
- Posts: 27
- Joined: Thu Sep 01, 2011 7:16 am
- Location: Morton, Washington
Re: [Warning] Yanmar 404cc Clone Issue
I cannot imagine spot welding a key! I'm surprised it held as long as it did. What brand is your clone?snoopy wrote:That is correct. I couldn't believe it either. It's obviously done to save time/money in the clone factory, Yanmar do it properly.
I attached the diagram from the manual. Part number 10 is a 5x14 key. They really cut a corner if they weld on a tab insteadsnoopy wrote:According to your picture,it is a tab on the right hand side taper (a slot is used on the left side). This little tab was spot welded in three places on mine.
Here's a link to the manual: http://powr-quipsmallengineparts.com/im ... Manual.pdf
-
snoopy
- I luv the smell of Diesel...
- Posts: 107
- Joined: Wed Jul 07, 2010 8:25 pm
- Location: NCL
- Contact:
Re: [Warning] Yanmar 404cc Clone Issue
I suppose it must make it easier pulling it out of the cast!
No idea on the brand or how to find out, it is a cheap clone with no identification marks.
No idea on the brand or how to find out, it is a cheap clone with no identification marks.
RTW on a diesel Enfield. Starts mid 2012. http://www.andrewcharnley.com/