Hi, i have a question about the 418 yanclone head, the type with the rocker cover with 2 bolts;
i was amazed to see that the rockers are not secured bij a circlip, like with the 3 bolt-rocker cover version?
or do i have a factoty mistake?
yanclone head question
Moderators: Dan J, Diesel Dave, Crazymanneil, Stuart
-
pietenpol2002
- I luv the smell of Diesel...
- Posts: 778
- Joined: Wed Dec 05, 2007 6:56 pm
- Location: Goshen, IN USA
Re: yanclone head question
Interesting question. Until you posted the question I wasn't aware that the 406cc and 418cc heads were different. Might explain why they use different injectors. I just assumed that the only difference was the longer stroke. There are all kinds of parts listed on Ebay here in the states with some lack of specificity as to which engine they're intended for. I've got examples of both engines in my shop in town but I won't be getting off the couch tonight to go confirm - sorry. But from what I can tell it would appear that the 406 head uses the 2 bolt bonnet while the 418 version takes the 3 bolt. Any chance you have a 406cc head on your engine? I just bought a new original equipment Yanmar head very cheap off of Ebay that was advertised as being for the 418cc engine and I'm now thinking I may have the 406 head. For the price I couldn't pass it up as a backup for the 406 engines I have.
For the sake of discussion let's agree that the L100AE and the 186F are 406cc's while the L100EE or L100V and the 186FA are 418cc's. Is that correct?
Here's the L100/186F head which is 406cc's. Has the 2 bolt bonnet without the notch in the bonnet by the injector hole.
http://www.partekmall.com/cylinder-head ... p-471.html (mouse over for close-up)
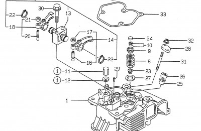
It takes this rocker assembly which has no apparent clips (must be your version). I would note however, that this assembly can also be found with clips. Note also that the 406cc rocker assembly utilizes a single bolt hold-down while the 418 uses 2 bolts for the rocker assembly.
http://www.partekmall.com/valve-rocker- ... p-530.html
And here we have the 186FA head with the 3 bolt bonnet. Clearly a different casting.
http://tinyurl.com/7hadfdf (again, mouse over for the close-up)
The listing below explains the various bonnets that fit their respective engines, further suggesting that the 2 bolt is the 406 and the 3 bolt is the 418.
http://tinyurl.com/7g6w7ou
Any of this make sense?
For the sake of discussion let's agree that the L100AE and the 186F are 406cc's while the L100EE or L100V and the 186FA are 418cc's. Is that correct?
Here's the L100/186F head which is 406cc's. Has the 2 bolt bonnet without the notch in the bonnet by the injector hole.
http://www.partekmall.com/cylinder-head ... p-471.html (mouse over for close-up)
It takes this rocker assembly which has no apparent clips (must be your version). I would note however, that this assembly can also be found with clips. Note also that the 406cc rocker assembly utilizes a single bolt hold-down while the 418 uses 2 bolts for the rocker assembly.
http://www.partekmall.com/valve-rocker- ... p-530.html
And here we have the 186FA head with the 3 bolt bonnet. Clearly a different casting.
http://tinyurl.com/7hadfdf (again, mouse over for the close-up)
The listing below explains the various bonnets that fit their respective engines, further suggesting that the 2 bolt is the 406 and the 3 bolt is the 418.
http://tinyurl.com/7g6w7ou
Any of this make sense?
Ron
-
pietenpol2002
- I luv the smell of Diesel...
- Posts: 778
- Joined: Wed Dec 05, 2007 6:56 pm
- Location: Goshen, IN USA
Re: yanclone head question
Update to my post of yesterday. The lads in the link below suggest that there was a change in the design at some point in the production of this engine. Would seem to argue for a spot of Locktite on the threads of those with the single hold-down bolt design.
http://www.utterpower.com/chinese-yanma ... r-engines/
Or you could go the route below (from the http://www.tractorbynet.com/ forum)
"First issue was that the rocker shaft, which was mounted with 2x m8 bolts on the early versions of these engines, was re-designed by its Chinese manufacturers who reasoned that one M10 bolt could do anything that 2 x m8's could do - wrong! replacing 2 symmetrically loaded bolts with a single bolt which is subjected to a large cycling load, encourages the bolt to work loose, then fatigue and break (conveniently right at the interface line with the cylinder head.) This was initially repaired after some judicious drilling and removal of the broken bolt stem with a torx adaptor (don't get me started on EZYOUTs - they are the bane of mankind). Bolt was replaced with a grade 8.8 (high strength) bolt, loctited in position, resulting in a repeat of the original performance about 30hours later. Second attempt, the original bolt and head were drilled and tapped to suit a stainless steel helicoil which now secures a 12mm grade 8.8 bolt (this does do what the 2 m8 bolts from the former design did)."
Contrary to his statement, I have an early Yanmar head with the single bolt design. I wonder whether the design was changed after problems developed while some Chinese manufacturers continued to build the single bolt design.
http://www.utterpower.com/chinese-yanma ... r-engines/
Or you could go the route below (from the http://www.tractorbynet.com/ forum)
"First issue was that the rocker shaft, which was mounted with 2x m8 bolts on the early versions of these engines, was re-designed by its Chinese manufacturers who reasoned that one M10 bolt could do anything that 2 x m8's could do - wrong! replacing 2 symmetrically loaded bolts with a single bolt which is subjected to a large cycling load, encourages the bolt to work loose, then fatigue and break (conveniently right at the interface line with the cylinder head.) This was initially repaired after some judicious drilling and removal of the broken bolt stem with a torx adaptor (don't get me started on EZYOUTs - they are the bane of mankind). Bolt was replaced with a grade 8.8 (high strength) bolt, loctited in position, resulting in a repeat of the original performance about 30hours later. Second attempt, the original bolt and head were drilled and tapped to suit a stainless steel helicoil which now secures a 12mm grade 8.8 bolt (this does do what the 2 m8 bolts from the former design did)."
Contrary to his statement, I have an early Yanmar head with the single bolt design. I wonder whether the design was changed after problems developed while some Chinese manufacturers continued to build the single bolt design.
Ron
Re: yanclone head question
i don't think there's a rtelation of 406 and 418/ 2 or 3 bolt covers. i do not know how you get that idea..
i only wonder about my stated question..
i only wonder about my stated question..
- coachgeo
- I luv the smell of Diesel...
- Posts: 2002
- Joined: Sun Feb 22, 2009 6:00 am
- Location: USA Ohio, Above Cincinnati, Close to Dayton
Re: yanclone head question
In round about ways..... think he did answer your question. In previous thread he showed there was a design change along with info below posted previous to that note. Maybe clips were added at the design change? Granted he also discussed a tangent information he thought would be beneficial info for you as well.arnaud wrote:i don't think there's a rtelation of 406 and 418/ 2 or 3 bolt covers. i do not know how you get that idea..
i only wonder about my stated question..
pietenpol2002 wrote:... ...For the sake of discussion let's agree that the L100AE and the 186F are 406cc's while the L100EE or L100V and the 186FA are 418cc's. Is that correct?
Here's the L100/186F head which is 406cc's. Has the 2 bolt bonnet without the notch in the bonnet by the injector hole.
http://www.partekmall.com/cylinder-head ... p-471.html (mouse over for close-up)
It takes this rocker assembly which has no apparent clips (must be your version). I would note however, that this assembly can also be found with clips.....
-
pietenpol2002
- I luv the smell of Diesel...
- Posts: 778
- Joined: Wed Dec 05, 2007 6:56 pm
- Location: Goshen, IN USA
Re: yanclone head question
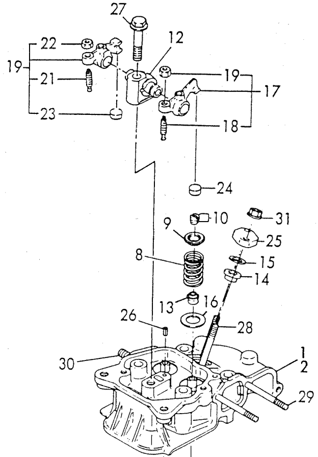
Instead of answering the specific question it appears I was only adding to our fund of knowledge (and perhaps confusion) regarding the Yanclones. Let's try this instead. From the official Yanmar manual come the 2 references below. The first is of the early LA series which clearly has the single bolt rocker restraint and the rocker shaft without circlips - evidence that your design indeed originates from Yanmar engineering. Clicking on the enlarged pic makes it a bit clearer.
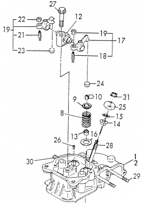
The second is of the later EE/V series of the Yanmar L100 with the 2 bolt restraint and accompanying circlips. How the Chinese juggled those 2 designs in their subsequent manfacturing is anybody's guess.
The second is of the later EE/V series of the Yanmar L100 with the 2 bolt restraint and accompanying circlips. How the Chinese juggled those 2 designs in their subsequent manfacturing is anybody's guess.
Ron
Re: yanclone head question
The seller told me this circlip-less design is indeed not a factory mistake.. i looks very scary..